

HG5反射式玻璃板液位計適用于直接指示各種塔、罐、槽、箱等容器內介質液位。在儀表上下閥門內裝有安全鋼球,當玻璃意外破損時,鋼球能在容器內壓力的作用下,自動關閉液流通道,以防止液位繼續外流。
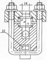
【 結構圖 】
![]() 反射式普通型 |
![]() |
安裝、使用與維護
| 1、為了保證自動密超過計劃作用,容器內的介質壓力不得小于0.2MPa,在打開上下閥時,閥桿退出轉數不少于4轉(使鋼球封門時,不致于碰到閥桿的頂端)。 2、使用中的儀表應定期檢查。清洗玻璃板內外壁污垢,使液位顯示清晰。 3、檢修裝配玻璃板在旋緊螺栓時,要密切注意玻璃板受力不均而破碎。因此,螺栓須嚴格按圖示1、2、3┈┈┈10、11、12順序交叉地分多次夾緊玻璃板。 |
【 液面計規定標記 】
|
名稱
|
型號
|
規格
|
標準號
|
備注
|
|
液面計
|
BR40-Ⅰ,
BR40-Ⅱ, BR40-ⅠZ, BR40-ⅡZ, |
L=500、800、1100、1400、1700、2000
|
HG5-1366-80
|
①凸面法蘭(B)按HGJ47-91 DN20,PN4.0MPa
②工作壓力:4.0MPa |
|
液面計
|
BT64-Ⅰ,
BT64-Ⅱ, BT64-ⅠZ, BT64-ⅡZ, |
L=500、800、1100、1400、1700
|
HG5-1365-80
|
①凸面法蘭(B)按HGJ47-91 DN20,PN6.3MPa
②工作壓力:6.3MPa |
|
液面計
|
A(B)T25-Ⅰ,
A(B)T25-Ⅱ, A(B)T25-ⅠZ, A(B)T25-ⅡZ, |
L=500、800、1100、1400、1700、2000
|
HG5-1364-80
|
①突面法蘭(A)按HGJ46-91
②凸面法蘭(B)按HGJ47-91 DN20,PN2.5MPa ③工作壓力:2.5MPa |
|
液面計
|
R-Ⅰ
R-Ⅱ |
304
|
HG5-1370-80
|
|
|
液面計
|
R-Ⅲ
|
304
|
HG5-1369-80
|
|
|
液面計
|
R6-Ⅰ
R6-Ⅱ |
304
|
HG5-1368-80
|
|
|
液面計
|
R6-Ⅲ
|
304
|
HG5-1367-80
|
工作壓力:0.6MPa
|
【 液面計主要技術參數 】
|
蒸汽夾套接頭
|
G1/2"外螺紋
|
|
伴熱蒸汽壓力
|
≤0.6MPa
|
|
液面計工作溫度
|
-20~+200℃
|
|
鋼球自動關閉壓力
|
≥0.2MPa
|
|
測量范圍(安裝中心距L)
|
300、500、800、1100、1400、1700mm
|
|
反射式液面計工作壓力
|
2.5、4.0、6.3MPa、0.6MPa(用于R型)
|
|
玻璃板液面計材質
|
碳鋼、不銹鋼
|
【 結構原理 】
HG5-1366-80反射式玻璃板液位計根據連通其原理,將容器內介質液位引至外部玻璃板液位計內,通過透明玻璃直接顯示容器內液位實際高度 儀表閥桿密封填料采用柔性石墨壓環,密封性能可靠。
【 特 點 】
● 玻璃板型使用安全、耐用。
● 反射式玻璃板型結構簡單、維修方便。
● 玻璃板型直讀式、讀數精確、可靠。
【 液位儀表簡介 】
浮球液位儀表由傳感器和指示表兩部分組成。浮球液位傳感器由裝有磁簧管的不銹鋼護管和裝有磁鋼的浮球組成。浮球液位傳感器的磁性浮球隨著容器內液體升降而上下移動,利用感應作用使護管內的磁簧管動作,從而引起線性電阻的阻值變化,通過指示表指針變化來反映液位變化。磁翻柱液位計,是根據浮力原理和磁性耦合作用原理工作的。
版權所有 Copyright(©)2009-2011 江蘇力科儀表有限公司
電話號碼:0517-86909222 商務熱線:15305232668 傳真:0517-86909221
地址:江蘇省金湖縣工業園
技術支持:易品網站建設專家 蘇ICP備13047422號-2